SMART CARD SYSTEM - drawings #0064

  • Posted on: 13 May 2017
  • By: tsu-ka

BRIEF DESCRIPTION OF THE DRAWINGS

FIG. 1 is a perspective view of a personal computer system which is configured to operate with a smart card;

FIG. 2 is a plan view of a smart card and a reader;

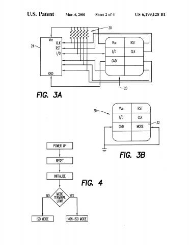
FIG. 3A is a more detailed view of the electronic components of a conventional smart card;

FIG. 3B is a detailed view of the electronic components of a smart card in accordance with a first embodiment of the present invention;

FIG. 4 is a flowchart of the general mode of operation of the present invention;

FIG. 5A is a block diagram of a reader that conforms to the ISO standard;

FIG. 5B is a schematic diagram of an interface device in accordance with the present invention;

FIG. 6 is a block diagram of a second embodiment of the present invention; and

FIG. 7 is a block diagram of a third embodiment of the present invention.

United States Patent 6,199,128 Inventors: Sarat; Jean-Marc (Belmont, CA)

 

English

Patent-study

スマートカードのシステム - 詳細な説明-段落3 #0067

  • Posted on: 29 May 2017
  • By: tsu-ka
Japanese

【発明の詳細な説明】
段落3
 この図1に示すような構成は多種の異なる用途に望ましいだろう。最初の段階において、スマートカードはパーソナルコンピュータへのアクセスを制御することに使用される。たとえば、利用者が特定のプログラムを実行するまたは機密ファイルを開く前に、利用者は本人の個人用スマートカードを判読機16に挿入しキーボード12を通してパスワードを入力するように求められてくる。周知の方法で、スマートカードと判読機はパスワードを認証するため互いに通信する、権限付与の後にコンピュータは利用者による指令の方法で作動する。より高度なアプリケーションでは、たとえば電子バンキングプログラムなど、スマートカード内蔵のマイクロプロセッサにより実行され、中央処理装置と対話する1つ又は2つ以上の個人用のソフトウェアプログラムをスマートカードは備えているだろう。

 

スマートカードのシステム - 詳細な説明-段落2 #0066

  • Posted on: 29 May 2017
  • By: tsu-ka
Japanese

【発明の詳細な説明】
段落2
図1は従来のパーソナルコンピュータシステムにスマートカードを使って運転するように構成された例示である。典型的であるように、コンピュータシステムは中央処理装置10、キーボード12、およびモニター14などを含むだろう。基本の入出力装置は中央処理装置により実行されるプログラムと対話する利用者よって用いられる。さらに、図1に示すシステムは別の周辺装置としてスマートカード判読機16を含む。従来の取り決めでは、判読機はISO標準に準拠し、スマートカードと判読機の間の情報交換はISO標準により制定されたプロトコルに従って実行される。判読機はRS232シリアルポートのような標準入出力ポートを介して中央処理装置に接続できる。代替手法として、判読機の構造は中央処理装置またはキーボード用の筐体内へ組み込まれるだろう、そしてスマートカードを挿入する適切なスロットを備える。

 

 

スマートカードのシステム - 詳細な説明-段落1 #0065

  • Posted on: 29 May 2017
  • By: tsu-ka
Japanese

【発明の詳細な説明】
段落1
 本発明の原理と特徴の理解を促すため、特定の実施形態に関連して以下に説明する。特に、参照は、スマートカードをパーソナルコンピュータに接続する本発明の実施に向け作成される。しかしながら、当然の事であるが、本発明の実用的用途はこの特定実施形態に限定されない。むしろ、本発明は、スマートカードに対して公表された標準を厳密に遵守する判読機を必要としない、スマートカードの機能性を利用することが望まれる、多種の異なるシステムに採用される。

 

スマートカードのシステム - 図面 #0064

  • Posted on: 13 May 2017
  • By: tsu-ka

【図面の簡単な説明】
【図1】スマートカードで運転させるために構成するパーソナルコンピュータシステムの斜視図である。

【図2】スマートカードおよび判読機を示す平面図である。

【図3A】従来のスマートカードの電子部品等を示すより詳細図である。

【図3B】本発明の第1実施形態に準じたスマートカードの電子部品等を示す詳細図である。

【図4】本発明の運転の通常モードを示すフローチャートである。

【図5A】ISO標準に適合する判読機を示すブロック図である。

【図5B】本発明に準じたインターフェース装置を示す概略図である。

【図6】本発明の第2実施形態を示すブロック図である。

【図7】本発明の第3実施形態を示すブロック図である。

 

 

Japanese

SMART CARD SYSTEM - drawings #0064

  • Posted on: 13 May 2017
  • By: tsu-ka

BRIEF DESCRIPTION OF THE DRAWINGS

FIG. 1 is a perspective view of a personal computer system which is configured to operate with a smart card;

FIG. 2 is a plan view of a smart card and a reader;

FIG. 3A is a more detailed view of the electronic components of a conventional smart card;

FIG. 3B is a detailed view of the electronic components of a smart card in accordance with a first embodiment of the present invention;

FIG. 4 is a flowchart of the general mode of operation of the present invention;

English

スマートカードのシステム - 要約 #0063

  • Posted on: 12 May 2017
  • By: tsu-ka
Japanese

【要約】
複数の異なる通信プロトコルと互換性があるスマートカードには、公表された標準の通信プロトコルに準拠する接点の標準セットを有し、かつ標準には指定されない別の接点が非標準のモードでスマートカードを運転するかどうかを示すために使用される。スマートカードを非標準のモードで運転する場合、正確なタイミングの制約を必要としない簡単な起動の手順が採用され、より安価なインターフェース装置の使用を可能にする。インターフェース装置は、所望の非標準プロトコルに従って運転するコンピュータのいかなるバスにも接続できる。マイクロプロセッサ内臓を有するスマートカードによって提供された柔軟性と機能性により、複数プロトコルのスマートカードを駆動に、または別の方法で通信に、いかなる多種の周辺装置に、該システムにパーソナルコンピュータがあろうとなかろうとに使用できる。

 

Pages